Перевозчик Опубликовано: 4 июля 2023 Опубликовано: 4 июля 2023 Наткнулся на схемку. Если рабочая, так и с 6С33С можно изгольнуться, и долой катодный резистор. Цитата
Gegen Опубликовано: 4 июля 2023 Опубликовано: 4 июля 2023 https://sonus.es/topic/23-listaja-starye-zhurnaly/page/8/ сообщение Опубликовано: 19 февраля , читайте Кулибины-Ползуновы... Катодный повторитель не усиливает сигнал по напряжению, амплитуда выходного напряжения на катоде равна амплитуде напряжения раскачки упр сетки выходной лампы, какое напряжение автор получит на вторичной обмотке при коэффициенте трансформации ТВЗ-1-1 около 30? 6Ж3П (1).pdf 2 Цитата
KAA Опубликовано: 4 июля 2023 Опубликовано: 4 июля 2023 Ясен хобот можно, что за вопрос. Осталось только заставить драйвер отдавать необходимое неискажённое напряжение с учётом коэффициента трансформации выходного трансформатора и Кун оконечного каскада. 1 Цитата
Gegen Опубликовано: 4 июля 2023 Опубликовано: 4 июля 2023 2 Перевозчик http://www.radiolamp.ru/library/mrb/2.php "Катодный повторитель" Л.Б.Каминир, выпуск МРБ №0226 1 Цитата
Перевозчик Опубликовано: 5 июля 2023 Автор Опубликовано: 5 июля 2023 На вашей схеме лофтин, где в катоде помимо ТВЗ есть и катодный резистор - 1,3 кОм. Вопрос то был по схеме в шапке, где в качестве катодного резистора активное выходника. Рабочая ли схема в принципе. Цитата
Ден123 Опубликовано: 5 июля 2023 Опубликовано: 5 июля 2023 (изменено) 5 часов назад, Перевозчик сказал: Вопрос то был по схеме в шапке, где в качестве катодного резистора активное выходника. Рабочая ли схема в принципе. В принципе рабочая схема. Смещение выходной лампы около 12 -15 В, ток анода около 40 мА. На входе С1 убрать, он там не требуется. С3 можно убрать - искажений поменьше будет, но амплитуда и Ку драйвера снизятся на 5-10%. С4 и С5 увеличить до 0,1 мкф. С4 можно до 1 мкф. 2 сетку 6п1п можно соединить с катодом через конденсатор>= 200 мкф и подшунитировать его пленкой 0,5-10 мкф. Изменено 5 июля 2023 пользователем Ден123 1 Цитата
KAA Опубликовано: 5 июля 2023 Опубликовано: 5 июля 2023 6 часов назад, Перевозчик сказал: На вашей схеме лофтин, Рабочая ли схема в принципе. Не всякий усилитель с непосредственной связью - Лофтин. В принципе - да. Цитата
RA4COL Опубликовано: 29 февраля 2024 Опубликовано: 29 февраля 2024 Собрал на основе схемы первого поста на остатках двух усилителей "Школьный". (Использовал шасси, силовые трансформаторы). Выходники доработанные ТВЗ1-9. 6Ж3П в триоде, питание через электронный дроссель 250вольт. В катоде порядка 600 оМ, Ск 15000,0 + 20,0 бумаги. Питание 6П1П 300 вольт. Рвых около 1W. Делал как компьютерный усь. Слушал через Perlees 1120 и 3-х полоску на основе 6ГД-2. В 14 кв метрах громкости вполне хватает. Особо замерами не занимался. Звук устраивает. Да, накал постоянкой. Цитата
KAA Опубликовано: 1 марта 2024 Опубликовано: 1 марта 2024 16 часов назад, RA4COL сказал: 6Ж3П в триоде Любую лампу в триод - это самоцель? Или как? У Вас что, усиление избыточно? Зачем в триод непременно пихать то, что в родном включении отлично работает и является одним из самых линейных тетродов в природе? 1 Цитата
RA4COL Опубликовано: 2 марта 2024 Опубликовано: 2 марта 2024 Не надо всех подозревать в триодной инфекции 🙂 Просто в пентоде звук не сумел извлечь, а одного ватта на достаточно чувствительной акустике мне хватает. 1 Цитата
KAA Опубликовано: 2 марта 2024 Опубликовано: 2 марта 2024 12 часов назад, RA4COL сказал: в пентоде звук не сумел извлечь А какой был режим - не помните ли, случайно? Цитата
RA4COL Опубликовано: 3 марта 2024 Опубликовано: 3 марта 2024 Какая-то несуразица была. На катоде 0,2 вольта(или около того), анод и 2-я сетка тоже не глянулись(не могу припомнить). Может и надо было выставить режимы по справочнику. У Манакова была заметка по исследованию 7-ми штырьковых пентодов. Вот примерно по ней и собрал первый каскад. Цитата
Gegen Опубликовано: 3 марта 2024 Опубликовано: 3 марта 2024 Привет! В те времена, более 20лет назад, я делал измерения драйверных пентодов в триодном вкл. Вот 6Ж3П в динамич режиме. Поскольку на аноде вых лампы +300В, Еа драйверной лампы сделать 280В. Учесть ток экр сетки порядка 2 мА Удачи! 1 Цитата
RA4COL Опубликовано: 3 марта 2024 Опубликовано: 3 марта 2024 Спасибо, Анатолий Иосифович! Может быть в следующей реинкарнации учту Ваши рекомендации и пожелания КАА. Просто токо сейчас приходил товарищ, послушал и радостно утащил сей агрегат- полуфабрикат. Я и в эту тему встрял, чтобы топикстартеру ответить, что да, так можно. Для себя сделал вывод, что семиногие 6Ж... очень даже замечательные лампы! Цитата
Gegen Опубликовано: 3 марта 2024 Опубликовано: 3 марта 2024 5 часов назад, RA4COL сказал: Для себя сделал вывод, что семиногие 6Ж... очень даже замечательные лампы! Будете снова затеваться - напишите мне, помогу с расчётом. Удачи! Цитата
KAA Опубликовано: 5 марта 2024 Опубликовано: 5 марта 2024 03.03.2024 в 20:47, RA4COL сказал: Спасибо! Непременно напишу. Собственно, на приведённой тёзкой и коллегой картинке всё видно. Чисто на своё имхо предложил бы взять начальное смещение в рабочей точке чуть больше, около 1,7 вольта, в интервале 1,6 - 1,75 вольта при 150 вольтах на экранной сетке. Это самый линейный режим для 6Ж3П, при практически даташитном номинальном токе анода, и смещение можно удобно взять с одного инфракрасного светодиода или трёх последовательно включённых стабисторов Д220С. Цитата
alss Опубликовано: 5 марта 2024 Опубликовано: 5 марта 2024 3 часа назад, KAA сказал: и смещение можно удобно взять с одного инфракрасного светодиода Старый красный светодиод даст искомые 1,7 В при токе около 7 мА, инфракрасный не более 1,1 В ни при каком токе. Можно еще совсем старый тусклый желто-зеленый взять. Цитата
RA4COL Опубликовано: 5 марта 2024 Опубликовано: 5 марта 2024 И вывести светодиоды индикаторами на переднюю панелью Двойная информативность. Делал так. А подсмотрел у Саши Бокарева. Цитата
KAA Опубликовано: 5 марта 2024 Опубликовано: 5 марта 2024 12 часов назад, alss сказал: Старый красный светодиод даст искомые 1,7 В при токе около 7 мА, инфракрасный не более 1,1 В ни при каком токе. А кто сказал, что нужно на чистом токе анода? Я бы так не делал, чтобы падение напряжения и дифференциальное сопротивление светодиода (которое, например, у АЛ102 при токах менее 5 миллиампер растёт) не "гуляли" от входного сигнала, а подпёр бы его током от внешнего источника, как при автоматическом смещении делается, если тока анода не хватает. Относительно прямого падения напряжения на ИК и прочих старых диодах. Древние АЛ102, у которых переходы фосфидогаллиевые, при токе миллиампер от пяти и выше нужного результата не дадут, у них прямое напряжение слишком велико. АЛ307А и Б, АЛ316 А и Б - гетероструктурные арсенидогаллиевые (галлий-алюминий-мышьяк), дадут искомое на малом токе, подобрать придётся. Инфракрасные светодиоды: у эпитаксиальных - АЛ108, например, или АЛ103 - падение напряжения меньше требуемого. Мезаэпитаксиальные - те же АЛ107, или АЛ119, у которых прямое напряжение до 3 вольт - подойдут. Мезадиффузионные арсенидогаллиевые - АЛ106 - можно подобрать из кучки до 1,6-1,7 вольт. Цитата
alss Опубликовано: 5 марта 2024 Опубликовано: 5 марта 2024 Я тоже помню эти светодиоды, но при ответе в расчет брал из обыкновенной тумбочки АЛ307 разных цветов или доступные типа TSAL6100 или OSRAM SFHxxxx или из оптопар. Цитата
KAA Опубликовано: 5 марта 2024 Опубликовано: 5 марта 2024 1 час назад, alss сказал: в расчет брал из обыкновенной тумбочки АЛ307 разных цветов или доступные типа TSAL6100 или OSRAM SFHxxxx или из оптопар. Прямое падение напряжения на светодиоде в основном определяется материалом кристалла, типом проводимости активной области, геометрией и химией перехода (длиной волны излучения и рабочим током) и технологией производства. АЛ307 с индексами А и Б сделаны из твёрдого раствора галлий-алминий-мышьяк по эпитаксиальной технологии и имеют меньшее прямое падение напряжения, чем фосфидогаллиевые (из-за материала) и мезаэпитаксиальные (в силу меньшей площади и большего сопротивления перехода). От них можно вымутить 1,7 вольта, но, повторюсь, при такой организации смещения я сторонник внешней токовой подпитки. АЛ106 изготовлены по диффузионной технологии, они могут иметь разброс от 1,2 и даже меньше до 1,6-1,7 вольта, но на работу при токе 10 миллиампер они вообще не рассчитаны, им для стабильности дифференциального сопротивления надо 40 миллиампер и более. Если нужно такое малое напряжение при меньшем токе, надо АЛ103 брать, но ими пользоваться неудобно. АЛ107 я давно не мерял, но, думаю, из АЛ107В 1,2 вольта выбрать можно, с другими индексами - вряд ли. Из АЛ119 - точно нет. В оптронах применяются слаботочные диоды с малым прямым падением напряжения, что-то вроде АЛ109 и аналогичных, для которых норма 1-1,2 вольта, но оптрон-то туда зачем?.. Это избыточно. Цитата
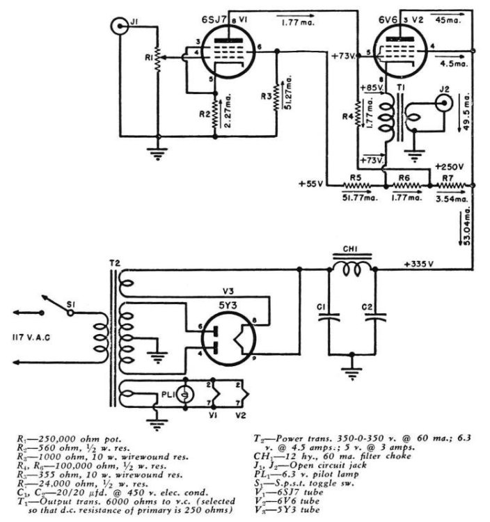
kesrmk Опубликовано: 18 марта Опубликовано: 18 марта (изменено) Привет, смотрю на схему с первого поста (Перевозчика) и схему 6SJ7 / 6V6 и думаю разве все усложнения в последней только чтобы исключить межкаскадный конденсатор? А раз в наши времена нет проблем с выбором хорошего конденсатора то может и проблемы нету его исключать, тем самым упростив схему до первого поста? Подумываю собрать усилитель поставив трансформатор в катод и тем самым задать режим лампы только с помощю сопротивления первичной обмотки. Нашелся в коробке буржуйский "ТВЗ" с сопротивлением 432 Ом первички (по постоянке). Так как он имеет вторичку расчитанную на 15 Ом (без отводов) и он не разбирается - ни куда он не годится (акустика у меня на 4 Ом), кроме как поставить в катод. Правильно ли я думаю что с таким сопротивлением первички при расчете на 40 мА получаем смещение -17,28в или 35 мА -15.12в то вопрос только о выборе лампы имеющей подобное смещение при 200-250в анодного и g2. Перелистал справочники и получается что можно ставить лампы 6V6 / 6П1П / 6BW6, 6Ф3П и даже 6L6. А если не задаватся исключением межкаскадного конденсатора то в драйвер ставится любая лампа в обычном режиме. Вопрос #2: если ставить лампы 6BW6 или 6L6 в эту схему и у обоих смещение на 40мА - правильно ли предпологать что лампа побольше даст звук по лучше? Почему спрашиваю - когда-то сравнивал тот же самый усилитель перетыком 6L6 и 6П6С - так 6П6С звучал как дохленкий "детский" усилитель, а поменяв на 6L6 - играл как здоровый "взрослый" усилитель. Лампы на выходной каскад рассматриваются что в наличии 6BW6 - Brimar, а 6L6 - RCA в металле. Нужно определится на какую панель сверлить корпус. Спасибо. Изменено 18 марта пользователем kesrmk Цитата
Gegen Опубликовано: 21 марта Опубликовано: 21 марта 18.03.2026 в 14:27, kesrmk сказал: Подумываю собрать усилитель поставив трансформатор в катод и тем самым задать режим лампы только с помощю сопротивления первичной обмотки. Нашелся в коробке буржуйский "ТВЗ" с сопротивлением 432 Ом первички (по постоянке). Так как он имеет вторичку расчитанную на 15 Ом (без отводов) и он не разбирается - ни куда он не годится (акустика у меня на 4 Ом), кроме как поставить в катод. Исчерпывающая характеристика.... Поскольку остальные данные неизвестны, нашёл(думаю, похожий) вых. трансформатор кинаповского усилителя 90У-5; железо Ш20х28, первичка - 2500 витков, провод ПЭЛ 0,13, вторичка - 135 витков, провод ПЭЛ 0,55. Коэффициент трансформации 2500:135=18,5. Чтобы получить Рвых 2вт на 4 Ом, напряжение вторичной обмотки должно быть 2,83В RMS, с учётом КПД, около 3В. Соответственно, напряжение на первичке 3*18,5=55,5В RMS, амплитудное=78В. Выводы делайте сами... Цитата
Рекомендованные сообщения
Присоединяйтесь к обсуждению
Вы можете опубликовать сообщение сейчас, а зарегистрироваться позже. Если у вас есть аккаунт, войдите в него для написания от своего имени.